Yamaha XMAX YP125R - Service manual > Crankshaft (YP250R)

Removing the crankshaft

Removing the crankshaft
Disassembling the crankcase
1. Remove:
- Crankcase bolts
TIP
Loosen each bolt 1/4 of a turn at a time, in stages and in a crisscross pattern. After all of the bolts are fully loosened, remove them.

2. Remove:
- Right crankcase "1"
TIP
- Remove the right crankcase with the crankcase separating tool "2" and M6 bolts "3".
- Make sure that the crankcase separating tool is centered over the crankshaft.
NOTICE
- To protect the end of the crankshaft, place an appropriate sized socket "4" between the crankcase separating tool bolt and the crankshaft.
- Do not tap on the crankshaft.
Crankcase separating tool
90890-01135
Crankcase separator YU-01135-B

Removing the crankshaft assembly
1. Remove:
- Timing chain "1"
TIP
- Before removing the crankshaft assembly, remove the timing chain from the crankshaft sprocket.
- The crankshaft assembly cannot be removed if the timing chain is attached onto the crankshaft sprocket.

2. Remove:
- Crankshaft assembly "1"
TIP
- Remove the crankshaft assembly with the crankcase separating tool "2" and M6 bolts "3".
- Make sure that the crankcase separating tool is centered over the crankshaft assembly.
NOTICE
- To protect the end of the crankshaft, place an appropriate sized socket "4" between the crankcase separating tool bolt and the crankshaft.
- Do not tap on the crankshaft.
Crankcase separating tool
90890-01135
Crankcase separator YU-01135-B

Checking the timing chain and timing chain guide
1. Check:
- Timing chain
Damage/stiffness → Replace the timing chain and camshaft sprocket as a set.

2. Check:
- Timing chain guide (intake side) Damage/wear → Replace.
Checking the crankshaft and connecting rod
1. Measure:
- Crankshaft runout
Out of specification → Replace the crankshaft.
TIP
Turn the crankshaft slowly.
Runout limit C
0.030 mm (0.0012 in)

2. Measure:
- Big end side clearance
Out of specification → Replace the crankshaft.
Big end side clearance D
0.350-0.850 mm (0.0138-0.0335
in)

3. Measure:
- Crankshaft width
Out of specification → Replace the crankshaft.
Width A
59.75-59.80 mm (2.352-2.354 in)

4. Check:
- Crankshaft sprocket "1"
Damage/wear → Replace the crankshaft.
- Bearings "2"
Cracks/damage/wear → Replace the crankshaft.
- Oil pump drive gear "3"
Damage/wear → Replace the crankshaft.

5. Check:
- Crankshaft journal
Scratches/wear → Replace the crankshaft.
- Crankshaft journal oil passage
Obstruction → Blow out with compressed air.

Checking the crankcase
1. Thoroughly wash the crankcase halves in a mild solvent.
2. Thoroughly clean all the gasket surfaces and crankcase mating surfaces.
3. Check:
- Crankcase
Cracks/damage → Replace.
- Oil delivery passages
Obstruction → Blow out with compressed air.
Checking the bearing and oil seal
1. Check:
- Bearing
Clean and lubricate the bearings, and then rotate the inner race with your finger.
Rough movement → Replace.
Checking the oil strainers
1. Check:
- Oil strainers
Damage → Replace.
Contaminants → Clean with solvent.
Installing the crankshaft
1. Lubricate:
- Oil seals
- Bearings
- Oil pump drive gear
Recommended lubricant
Oil seal
Lithium-soap-based grease
Bearing, oil pump drive gear
Engine oil
2. Install:
- Oil seal "1" (to the left crankcase)
Oil seal installed depth
0-0.5 mm (0-0.020 in)

a. Oil seal installed depth
3. Install:
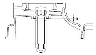
- Timing chain "1"
TIP
Install the timing chain so it is not visible through the opening "a" in the left crankcase "2".

4. Install:
- Crankshaft assembly "1" (to the left crankcase)
TIP
Install the crankshaft assembly with the crankshaft installer pot "2", crankshaft installer bolt "3", adapter "4", and spacer "5".
Crankshaft installer pot
90890-01274
Installing pot YU-90058
Crankshaft installer bolt 90890-01275
Bolt YU-90060
Adapter (M14) 90890-01478
Adapter #6 YM-90066
Spacer (crankshaft installer) 90890-04081
Pot spacer YM-91044

NOTICE
To avoid scratching the crankshaft and to ease the installation procedure, lubricate the oil seal lips with lithium-soap-based grease and each bearing with engine oil.
TIP
Hold the connecting rod at top dead center (TDC) with one hand while turning the nut of the crankshaft installer bolt with the other. Turn the crankshaft installer bolt until the crankshaft assembly bottoms against the bearing.
Assembling the crankcase
1. Thoroughly clean all the gasket mating surfaces and crankcase mating surfaces.
2. Apply:
- Sealant (onto the crankcase mating surfaces)
Yamaha bond No. 1215
90890-85505
(Three Bond No.1215)
TIP
Do not allow any sealant to come into contact with the oil gallery.

3. Install:
- Right crankcase "1"
TIP
Install the crankshaft assembly with the crankshaft installer pot "2", crankshaft installer bolt "3", adapter "4", and spacer "5".
Crankshaft installer pot
90890-01274
Installing pot YU-90058
Crankshaft installer bolt 90890-01275
Bolt YU-90060
Adapter (M16) 90890-01280
Adapter #7 YM-90067
Spacer 90890-01288

4. Install:
- Water pump assembly
- Crankcase bolts
Crankcase bolt
10 Nm (1.0 m*kgf, 7.2 ft*lbf)
TIP
Tighten the crankcase bolts in stages and in a crisscross pattern.
- M6 × 100 mm (3.94 in) bolts: "1"
- M6 × 70 mm (2.76 in) bolts: "2"

See also:
Yamaha XMAX YP125R - Service manual > Transmission (YP250R)
Removing the transmission Removing the transmission








