Yamaha XMAX YP125R - Service manual > Electric starter (YP250R)

Removing the starter motor

Disassembling the starter motor
Checking the starter motor
1. Check:
- Commutator
Dirt → Clean with 600 grit sandpaper.
2. Measure:
- Commutator diameter "a"
Out of specification → Replace the starter motor.
Limit
22.4 mm (0.88 in)

3. Measure:
- Mica undercut "a"
Out of specification → Scrape the mica to the proper measurement with a hacksaw blade that has been grounded to fit the commutator.
Mica undercut (depth)
1.00 mm (0.04 in)
TIP
The mica of the commutator must be undercut to ensure proper operation of the commutator.

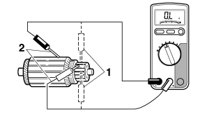
4. Measure:
- Armature assembly resistances (commutator and insulation) Out of specification → Replace the starter motor.
a. Measure the armature assembly resistances with the digital circuit tester.
Digital circuit tester
90890-03174
Model 88 Multimeter with tachometer YU-A1927
Armature coil
Commutator resistance "1" Continuity (0.0100-0.0140 Ω at 20 ºC (68 ºF))
Insulation resistance "2" No continuity (Above 1 MΩ at 20 ºC (68 ºF))

b. If any resistance is out of specification, replace the starter motor.
5. Measure:
- Brush length "a"
Out of specification → Replace the brushes as a set.
Limit
3.00 mm (0.12 in)

6. Measure:
- Brush spring force
Out of specification → Replace the brush springs as a set.
Brush spring force
7.75 N (790 gf, 27.90 oz)

7. Check:
- Gear teeth
Damage/wear → Replace the gear.
8. Check:
- Bearing
Damage/wear → Replace the bearing.
Assembling the starter motor
1. Install:
- Starter motor rear cover "1"
- Starter motor yoke "2"
- Starter motor front cover "3"
TIP
Align the match marks "a" on the starter motor yoke with the match marks "b" on the starter motor front and rear covers.

See also:
Yamaha XMAX YP125R - Service manual > Starter clutch and generator (YP250R)
Removing the generator cover and stator coil Removing the generator rotor and starter clutch
Yamaha XMAX YP125R - Service manual > Oil pump (YP250R)
Removing the oil pump Removing the oil pump








