Suzuki Burgman 400 - Service manual > Front Brake Caliper Removal and Installation
Removal
1) Drain brake fluid. Refer to "Brake Fluid Replacement".
2) Remove the brake hose from the caliper by removing the union bolt (1) and catch the brake fluid in a suitable receptacle.
NOTE
- Place a rag underneath the union bolt on the brake caliper to catch any spilt brake fluid.
- Slightly loosen the brake pad mounting pins (2) to facilitate later disassembly, if necessary.
3) Remove the brake caliper by removing the caliper mounting bolts (3).

4) Remove the front brake pads. Refer to "Front Brake Pad Replacement".
5) Remove the front brake caliper bracket.

Installation
Install the front brake caliper in the reverse order of removal. Pay attention to the following points:
! CAUTION The seal washers should be replaced with the new ones to prevent fluid leakage.
- Tighten each bolt to the specified torque.
Tightening torque
Front brake caliper mounting bolt (a): 35 N*m (3.5 kgf-m, 25.5 lb-ft)
Front brake pad mounting pin (b): 18 N*m (1.8 kgf-m, 13.0 lb-ft)
- After setting the brake hose union to the stopper, tighten the union bolt to the specified torque.
! CAUTION The seal washers should be replaced with the new ones to prevent fluid leakage.
Tightening torque
Front brake hose union bolt (c): 23 N*m (2.3 kgf-m, 16.5 lb-ft)

- Bleed air from the brake system after installing the caliper. Refer to "Air Bleeding from Brake Fluid Circuit".
- Check the brake fluid leakage and brake operation.
! WARNING Brake fluid, if it leaks, will interfere with safe running and discolor painted surfaces.
Check the brake hose and hose joints for cracks and fluid leakage.
Front Brake Caliper Disassembly and Assembly
Refer to "Front Brake Caliper Removal and Installation".
Disassembly
1) Remove the front brake pads. Refer to "Front Brake Caliper Removal and Installation".
2) Remove the front brake pad spring.

3) Place a rag over the pistons to prevent it from popping out and then force out the pistons using compressed air.
! CAUTION Do not use high pressure air to prevent piston damage.

4) Remove the dust seals (1) and piston seals (2).

5) Remove the rubber boots (3) and the front brake caliper air bleeder valve (4).

6) Remove the pin bolt from the front brake caliper bracket.

Assembly
Assemble the front brake caliper in the reverse order of disassembly. Pay attention to the following points:
- Wash the caliper bores and pistons with specified brake fluid. Particularly wash the dust seal grooves and piston seal grooves.
BF: Brake fluid (DOT 4)
! CAUTION
- Wash the caliper components with fresh brake fluid before reassembly. Never use cleaning solvent or gasoline to wash them.
- Do not wipe the brake fluid off after washing the components.
- When washing the components, use the specified brake fluid. Never use different types of fluid or cleaning solvent such as gasoline, kerosine or the others.

- Apply the brake fluid to piston seals (1) and dust seals (2).
! CAUTION Replace the piston seals (1) and dust seals (2) with the new ones.
BF: Brake fluid (DOT 4)
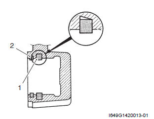
- Install the piston seals as shown in the figure.

Tightening torque
Pin bolt (a): 18 N*m (1.8 kgf-m, 13.0 lb-ft)

See also:
Suzuki Burgman 400 - Service manual > Repair Instructions
Front Brake Components Air bleeder valve Pad mounting pin Brake pad spring Piston seal Dust seal Piston Boot Pin bolt Washer Bracket Front brake pad set Front brake disc : 6 N*m (0.6 kgf-m, 4.5 lb-ft) : 18 N*m (1.8 kgf-m, 13.0 lb-ft) : 18 N*m (1.8 kgf-m, 13.0 lb-ft) : 35 N*m (3.5 kgf-m, 25.5 lb-ft) : 23 N*m (2.3 kgf-m, 16.5 lb-ft)
Suzuki Burgman 400 - Service manual > Front Brake Caliper Parts Inspection
Refer to "Front Brake Caliper Disassembly and Assembly ". Inspect the following parts. Brake Caliper Cylinder Inspect the brake caliper cylinder wall for nicks, scratches or other damage. If any damage is found, replace the caliper with a new one.








