Yamaha XMAX YP125R - Service manual > Installing the valves
The following procedure applies to all of the valves and related components.
1. Deburr:
- Valve stem end (with an oil stone)

2. Lubricate:
- Valve stem "1"
- Valve stem seal "2" (with the recommended lubricant)
Recommended lubricant Molybdenum disulfide oil

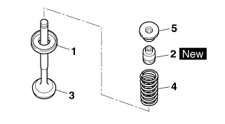
3. Install:
- Lower spring seat "1"
- Valve stem seal "2"

- Valve "3"
- Valve spring "4"
- Upper spring seat "5" (into the cylinder head)
TIP
- Make sure each valve is installed in its original place.
- Install the valve springs with the larger pitch "a" facing up.


b. Smaller pitch
4. Install:
- Valve cotters "1"
TIP
Install the valve cotters by compressing the valve spring with the valve spring compressor and the valve spring compressor attachment "2".
Valve spring compressor 90890-04019 YM-04019
Valve spring compressor attachment 90890-04108
Valve spring compressor adapter 22 mm YM-04108

5. To secure the valve cotters onto the valve stem, lightly tap the valve tip with a soft-face hammer.
NOTICE
Hitting the valve tip with excessive force could damage the valve.

See also:
Yamaha XMAX YP125R - Service manual > Checking the valves and valve guides
The following procedure applies to all of the valves and valve guides. 1. Measure: Valve-stem-to-valve-guide clearance Out of specification → Replace the valve guide.
Yamaha XMAX YP125R - Service manual > Cylinder and piston
Removing the cylinder and piston Removing the piston








