Vespa GTS Super 300 ie - Service manual > Time
Engine

ENGINE

Crankcase
CRANKCASE

Crankshaft

CRANKSHAFT

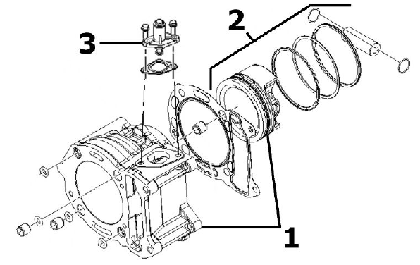
Cylinder assy.

CYLINDER - PISTON

Cylinder head assy.

VALVE HEAD

Rocker arms support assy.

CAMSHAFT

Cylinder head cover

HEAD COVER

Oil filter

OIL FILTER

Flywheel cover

FLYWHEEL COVER

Driven pulley

DRIVEN PULLEY

Oil pump

OIL PUMP

Final gear assy.

FINAL REDUCTION GEAR

Driving pulley

DRIVING PULLEY

Transmission cover

TRANSMISSION COVER

Starter motor

ELECTRICAL START-UP

Flywheel magneto

MAGNETO FLYWHEEL

Butterfly valve

THROTTLE BODY

Exhaust pipe

MUFFLER

Air cleaner

AIR CLEANER

Frame

CHASSIS

Centre-stand

STAND

Footrests

MATS AND COVERS

Rear cover

REAR SHIELD

Underseat compartment

HELMET COMPARTMENT

Plate holder

LICENSE PLATE HOLDER

Mudguard

MUDGUARDS

Fuel tank

FUEL TANK

Radiator

RADIATOR

Rear shock-absorber

REAR SHOCK ABSORBERS

Steering column bearings

STEERING FIFTH WHEELS

Handlebar covers

HANDLEBAR COVERS

Handlebar components

HANDLEBAR COMPONENTS

Swing-arm

SWINGING ARM

Seat

SADDLE

Instrument panel

INSTRUMENT PANEL

Rear rack

LUGGAGE RACK

Locks

LOCKS

Turn signal lights

INDICATORS AND LIGHTS

Front wheel

FRONT WHEEL

Rear wheel

REAR WHEEL

Electric devices

ELECTRIC DEVICES

Transmissions

TRANSMISSIONS

Front suspension

FRONT SUSPENSION

Braking system

BRAKING SYSTEM

Stickers

TRANSFERS

See also:
Vespa GTS Super 300 ie - Service manual > Pre-delivery
Carry out the listed tests before delivering the vehicle. Warning - Handle fuel with care. Aesthetic inspection Appearance check: Paintwork Fitting of plastics Scratches Dirt








